中成华瑞
智慧工地系统解决方案服务商 Intelligent site system solution provider

咨询热线:
028-87373660

稳压包

Voltage stabilizer package

机器型号:Voltage stabilizer package

产品描述:

本产品名为稳压包,配合灌浆设备一起使用。其作用是消除或者降低浆液在管路中的脉冲,从而使输出浆液的压力值达到稳定范围,从而保护管路。

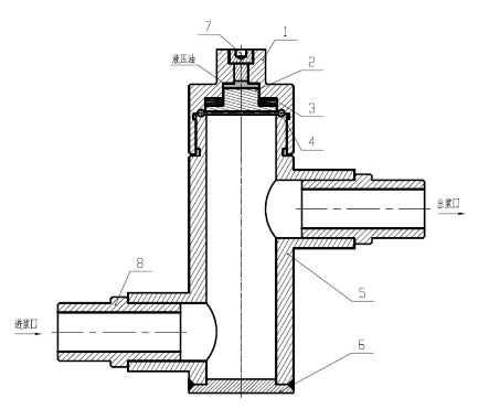
仪器结构:

1.上盖
2.导向柱
3.碟簧
4. 橡胶圈
5. 壳体
6.下盖
7.螺堵
8. 对丝管接头

仪器安装:

1.安装方式:原则上垂直安装放置

2.工作介质:石油基液压油

3.工作温度:-20︒C—150︒C

4.工作压力:0~20MPa

本产品为灌浆管路中的一部分,使用在高压环境下,所以与两侧的对丝管接头连接时应该在接头螺纹处缠绕生料带,并且拧紧。其上端盖与壳体也采用螺纹连接,也应在壳体的螺纹处缠上生料带,其浆液的进出方式为“低进高出”。并且在安装时,应当往橡胶圈与上端盖内孔中加入适量液压油,使橡胶圈使用寿命延长。

服务热线:

028-87373660

微信公众号